康橙供应链
页面示例
采购
采购需求
汇总配件生产需求以及库存数据,自动生成短缺数量。
一、功能区域说明
1. 筛选栏
- SKU:输入 SKU 或商品名称筛选。
- 需求数量:输入需求数量范围筛选。
- 库存数量:输入库存数量范围筛选。
- 采购中数量:输入采购中数量范围筛选。
- 短缺数量:输入短缺数量范围筛选。
2. 跳转
蓝色且数量不为 0 的可跳转到对应单据页面
- 需求数量:跳转到该 SKU 的生产单列表。
- 库存数量:跳转到该 SKU 的库存管理列表。
- 采购中数量:跳转到该 SKU 的采购订单列表。
二、字段说明
| 字段 | 含义说明 |
|---|---|
| 需求数量 | 生产单中未完成的成品,按 BOM 配比算出的对应配件需求数量 |
| 安全库存 | 商品的安全库存数量,取自【仓库-库存管理】 |
| 成品可用库存 | 可用库存数不为 0 的成品,按 BOM 配比算出的对应配件可用数量 |
| 库存数量 | 商品所有批次可用库存汇总 |
| 采购中数量 | 商品所有非已完成状态的采购单中未入库的数量 |
| 短缺数量 | 需求数量 + 安全库存 - 成品可用库存 - 库存数量 - 采购中数量 |
三、其他
- 更新时间:每 20 分钟更新一次
采购订单
用于管理采购订单,提供订单创建、查看、审批、付款、入库及销单等功能。
一、功能区域说明
1. 筛选栏
用于精确筛选采购订单数据,包含以下条件:
- SKU:输入 SKU 或商品名称筛选。
- 供应商:下拉选择供应商名称。
- 我方公司:下拉选择我方公司。
- 下单日期:选择起止下单时间。
- 交货日期:选择起止交货时间。
按钮操作:
重置:清空所有筛选条件。搜索:根据条件进行查询。
2. 工具栏
新增:新增采购订单。删除:批量删除选中订单(需勾选)。批量付款:对选中订单进行统一付款申请(需勾选)。
3. 操作栏(列表右侧)
合同:查看或打印该订单的采购合同。审批:审批订单(需权限)。查看:进入订单详情页面。编辑:修改订单内容(需权限)。删除:删除订单记录(需权限)。入库:采购商品收货入库,审批通过后才显示。付款申请:申请付款,审批通过后且可付金额大于零时显示。付款比例:修改首付比例或者预付款比例(需权限)。销单:用于订单审批通过后需要减少采购数量,包括退货退款; 有已入库未审批或申请付款未支付时,无法销单。发票:若已上传对应采购单的发票,可跳转到财务-发票管理页面,查看发票详情。
二、常见操作流程
1.新增
- 点击【新增】按钮;

- 在弹出框中输入供应商,我方公司,SKU,数量,价格,交货日期等;
- 点击【确认】后提交审批。
2.查看
点击【查看】,进入订单详情页查看完整信息。
3.编辑
- 点击【编辑】;
- 修改内容;
- 点击【确认】。
4.审批
- 点击【审批】按钮;

- 选取 通过 或 不通过;
- 点击【确认】。
5.入库
- 点击【入库】;

- 在弹出框中选择对应仓库,填写入库日期,选择审批人,入库数量;
- 点击【确认】。
6.批量付款
- 勾选多个订单;
- 点击【批量付款】按钮;

- 选择我方公司(开票抬头),期望支付日期,审批人,本次支付金额,冲抵单(若有);
- 点击【确认】。
7.销单
- 点击【销单】按钮;

- 选择审批人,输入销单数量以及对应的运费和优惠,若退款金额大于 0 时需要选择退款支付方式,具体计算规则见 采购销单-销单相关数量金额计算逻辑;
- 点击【确认】。
三、订单状态说明
| 状态 | 含义说明 |
|---|---|
| 待审批 | 刚创建,正在等待审批 |
| 待入库 | 审批完成,可进行付款、入库等后续操作 |
| 部分入库 | 订单商品部分已入库 |
| 全部入库 | 商品全部完成入库 |
| 已完成 | 完成付款、入库等流程 |
四、其他
1. 可付金额计算逻辑
订单总金额: 商品总价 + 运费 - 优惠金额已支付金额: 已提交付款申请并已支付的总金额待支付金额: 已提交付款申请还未支付的总金额预付款比例: 收货入库前可付金额与总金额之比(由财务在供应商列表维护)首付比例: 第一次付款金额与总金额之比(由采购维护)本次付款比例: 若是第一次支付且首付比例小于等于预付款比例,则取首付比例,否则取预付款比例
可付金额 =
订单总金额 * (1 - 已入库商品总价 / 商品总价) * 本次付款比例
+ 订单总金额 * (已入库商品总价 / 商品总价)
- 已支付金额 - 待支付金额
2. 应付时间计算逻辑
预付款应付时间: 预付款比例 > 0 的订单下单后5天总金额应付时间: 预付款比例 != 100 的订单预计交货日期或者首次收货日期 + 账期
采购销单
用于采购订单审批通过后需要减少采购数量,包括退货退款。
一、功能区域说明
1. 筛选栏
用于精确筛选采购订单数据,包含以下条件:
- SKU:输入 SKU 或商品名称筛选。
- 供应商:下拉选择供应商名称。
- 我方公司:下拉选择我方公司。
按钮操作:
重置:清空所有筛选条件。搜索:根据条件进行查询。
2. 操作栏(列表右侧)
审批:审批订单(需权限)。查看:进入订单详情页面。编辑:修改订单内容(需权限)。删除:删除订单记录(需权限)。
二、常见操作流程
1.新增
入口在采购订单列表页面的【销单】按钮。
2.查看
点击【查看】,进入订单详情页查看完整信息。
3.编辑
- 点击【编辑】;
- 修改内容;
- 点击【确认】。
4.审批
- 点击【审批】按钮;
- 选取 通过 或 不通过;
- 点击【确认】。
三、其他
1. 销单条件
- 采购单审批后;
- 数量往少了改;
- 没有已入库未审批;
- 没有已申请付款未支付。
2. 销单规则
- 销单数量对应的运费和优惠金额均需小于原订单。
- 销单数量大于未入库数量时,会自动生成退货出库单。
- 有退货出库时会自动生成一笔冲抵单和一笔用了此冲抵单的已支付的付款单,并更新采购单的已支付金额。
- 若有退款时需要选择退款支付类型:冲抵或收款。
3. 销单相关数量金额计算逻辑
| 字段 | 说明 |
|---|---|
| 采购单原商品总金额 | SUM(商品单价 * 采购单原明细数量) |
| 采购单原明细未入库数量 | 采购单原明细数量 - 采购单原明细已入库数量 |
| 销单运费 | 自填 |
| 销单优惠金额 | 自填 |
| 销单明细数量 | 自填 |
| 销单商品总金额 | SUM(商品单价 * 销单明细数量) |
| 销单总金额 | 销单商品总金额 + 销单运费 - 销单优惠金额 |
| 退货出库明细数量 | 若 销单明细数量 <= 采购单原明细未入库数量,则为 0, 否则为 销单明细数量 - 采购单原明细未入库数量 |
| 退货出库商品总金额 | SUM(商品单价 * 退货出库明细数量) |
| 退货出库总金额 | 销单总金额 * (退货出库商品总金额 / 销单商品总金额) |
| 采购单新明细数量 | 若 销单明细数量 <= 采购单原明细未入库数量,则为 采购单原明细数量 - 销单明细数量, 否则为 采购单原明细已入库数量 |
| 采购单新商品总金额 | SUM(商品单价 * 采购单新明细数量) |
| 采购单新总数量 | SUM(采购单新明细数量) |
| 采购单新运费 | 采购单原运费 - 销单运费 |
| 采购单新优惠金额 | 采购单原优惠金额 - 销单优惠金额 |
| 采购单新总金额 | 采购单新商品总金额 + 采购单新运费 - 采购单新优惠金额 |
若 退货出库总金额 = 0 则
采购单新已支付金额 = 采购单原已支付金额
已冲抵支付金额 = 0
若 采购单原已支付金额 > 采购单新总金额 则
退款金额 = 采购单原已支付金额 - 采购单新总金额
否则
退款金额 = 0
否则
若 退货出库总金额 <= 采购单新总金额 - 采购单原已支付金额 则
已冲抵支付金额 = 退货出库总金额
退款金额 = 0
采购单新已支付金额 = 采购单原已支付金额 + 退货出库总金额
否则
已冲抵支付金额 = 采购单新总金额 - 采购单原已支付金额
退款金额 = 退货出库总金额 + 采购单原已支付金额 - 采购单新总金额
采购单新已支付金额 = 采购单新总金额
车间
生产单
仓库
批次管理
库存管理
入库管理
出库管理
财务
收款单
冲抵单
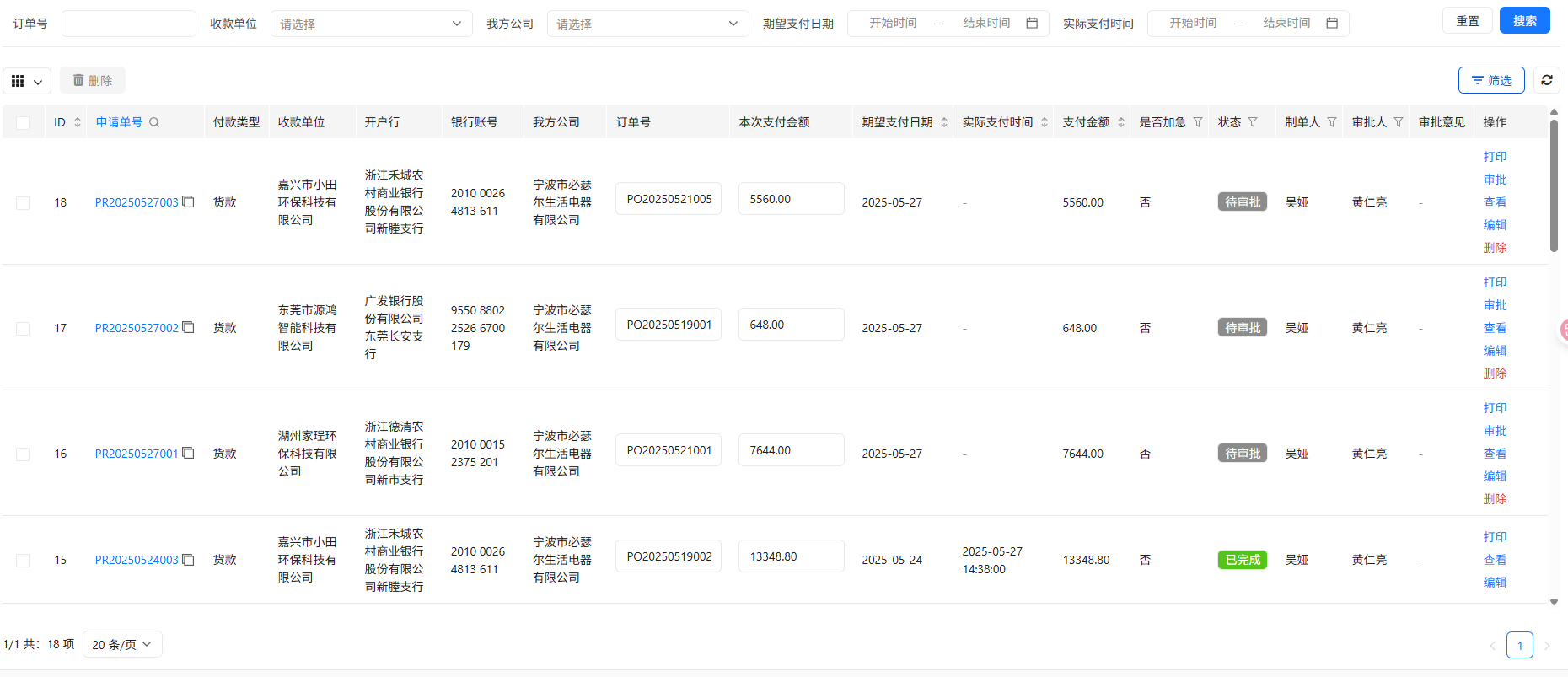
付款申请单
用于管理付款申请,提供付款申请单查看、审批、支付及打印等功能。
一、功能区域说明
1. 筛选栏
用于精确筛选付款申请单数据,包含以下条件:
- 订单号:输入付款申请单号筛选。
- 收款单位:下拉选择供应商开户名称。
- 我方公司:下拉选择我方公司。
- 期望支付日期:选择起止期望支付时间。
- 实际支付日期:选择起止实际支付时间。
按钮操作:
重置:清空所有筛选条件。搜索:根据条件进行查询。
2. 操作栏(列表右侧)
打印:打印该订单。审批:审批订单(需权限)。查看:进入订单详情页面。编辑:修改订单内容(需权限)。删除:删除订单记录(需权限)。支付:上传支付凭证。
二、常见操作流程
1.新增
入口在采购订单列表页面的【批量付款】按钮。
2.查看
点击【查看】,进入订单详情页查看完整信息。
3.编辑
- 点击【编辑】;
- 修改内容;
- 点击【确认】。
4.审批
- 点击【审批】按钮;
- 选取 通过 或 不通过;
- 点击【确认】。
5.支付
- 点击【支付】;

- 在弹出框中选择实际支付时间,上传支付凭证;
- 点击【确认】。
三、订单状态说明
| 状态 | 含义说明 |
|---|---|
| 待审批 | 刚创建,正在等待审批(财务审批和总经理审批) |
| 待支付 | 审批完成,可进行支付 |
| 已完成 | 已完成支付 |
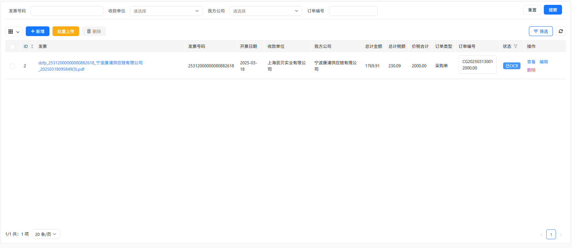
发票管理
用于管理发票(目前仅系统内采购订单的发票),提供发票上传、自动识别及关联采购单等功能。
一、功能区域说明
1. 筛选栏
用于精确筛选发票数据,包含以下条件:
- 发票号码:输入发票号码筛选。
- 收款单位:下拉选择供应商开户名称。
- 我方公司:下拉选择我方公司。
- 订单编号:输入采购单编号筛选。
按钮操作:
重置:清空所有筛选条件。搜索:根据条件进行查询。
2. 工具栏
新增:上传单张发票并识别。批量上传:上传多张发票稍后识别。
3. 操作栏(列表右侧)
查看:进入发票详情页面。编辑:修改发票内容(需权限)。删除:删除发票记录(需权限)。
二、常见操作流程
1.新增
- 点击【新增】按钮;
- 在弹出框中点击文件上传,上传发票文件;
- 点击【确认】后提交,系统会自动识别发票内容。
2.查看
点击【查看】,进入发票详情页查看完整信息。
3.编辑
- 点击【编辑】;

- 修改发票信息以及关联采购单的开票金额;
- 点击【确认】。
三、其他
- 发票上传后会自动识别发票号码、开票日期、购买方(供应商)、销售方(我放公司)、金额、税额等信息;
- 购买方、销售方需和系统内的名称完全一致才能关联;
- 若自动识别有误,可手动修改;
- 发票备注栏若有 合同编号:POXXXXXXXX 信息会尝试自动关联采购单,若未关联成功,可手动关联。
付款汇总
汇总采购应付,付款申请以及开票数据。
一、功能区域说明
1. 筛选栏
- 收款单位:下拉选择供应商开户名称。
- 我方公司:下拉选择我方公司。
2. 跳转
蓝色且数量不为 0 的可跳转到对应单据页面
- 应付:跳转到对应的采购单列表。
- 待付:跳转到对应的付款申请单列表。
- 已支付:跳转到对应的付款申请单列表。
二、字段说明
| 字段 | 含义说明 |
|---|---|
| 本周应付 | 采购单应付金额在本周(7天后)前的金额总计,具体计算规则见 采购单-应付时间计算逻辑 |
| 本月应付 | 采购单应付金额在本月(30天后)前的金额总计,具体计算规则见 采购单-应付时间计算逻辑 |
| 应付总计 | 所有采购单未付金额总计,具体计算规则见 采购单-可付金额计算逻辑 |
| 本周待付 | 付款申请单期望支付时间在本周(7天后)前的金额总计 |
| 本月待付 | 付款申请单期望支付时间在本月(30天后)前的金额总计 |
| 待付总计 | 所有未支付的付款申请单金额总计 |
| 已支付总计 | 所有已支付的付款申请单金额总计 |
| 开票金额总计 | 所有已上传发票的金额 |
| 未开票金额总计 | 已支付总计 - 开票金额总计 |
三、其他
- 更新时间:每 10 分钟更新一次